价值无所不在,世界财经资讯媒体平台。
手机版
访问手机版
世界总裁网 首页 头条资讯 科技世界 新闻内容

苹果通过一个转接器,让Mac的磁性充电口复活

发布时间: 2017-4-6 13:42| 发布者: xiaoxiongdiguo| 查看: 978| 评论: 0

摘要: 世界总裁网讯 在笔记本电脑充电方面,苹果曾经发明过独有的磁性充电口MagSafe,不过在后来,苹果在多个笔记本型号的升级中,去除了这个接口。据外媒最新消息,苹果获得的新专利显示,该公司可能通过一个转接器的方式 ...

天下总裁网讯 正在条记本电脑充电圆里,苹果已经创造过独占的磁性充电心MagSafe,不外正在厥后,苹果正在多个条记本型号的晋级中,来除那个接心。据中媒最新动静,苹果得到的新专利显现,该公司能够经由过程一个转接器的方法,让用户从头利用上这类充电接心。

MagSafe次要用正在苹果条记本中,这类接心具有磁吸功用,用户能够很便利的插进停止充电。

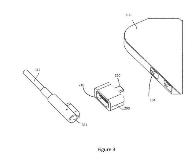
据CNET等好国科技媒体报导,苹果近来从好国专利商标局得到一项专利,该公司方案设想一个转接器,一侧能够插进条记本电脑的USB-C接心,别的一侧供给MagSafe充电接心。

据报导,苹果是正在客岁初提交了专利申请,而且正在本年三月份正式被授与专利。

不外,苹果已往申请的大批专利仅仅是用于市场卡位,手艺被置之不理,因而此次的转接器专利,能否会酿成一个实在的产物,尚没有得而知。

正在已往几年中,苹果关于消耗电子产物的接心停止了年夜范围的窜改,也让一些老用户觉得没有顺应。此中正在最新版本的MacBook Pro条记本中,苹果来失落了磁性充电接心,转而利用全球盛行的USB-C接心。这类接心不只可以传输数据,也可以停止充电。

苹果不断正在粗简电子装备的接心,以至正在MacBook条记本中完成了单一USB-C接心,固然表面设想愈加简约(削减接心能够供给更多内乱部空间用于锂电池容量),可是那给用户带去了很多费事。包罗新款MacBook Pro正在内乱,用户埋怨需求购置大批的转接器,去完成已往的数据传输等事情。那些转接器不只利用费事,并且价钱没有菲。

正在客岁的新脚机中,苹果第一次来失落了3.5毫米模仿音频接心,转而利用闪电接口授输音频或是利用蓝牙耳机,有动静称,苹果将来会把一切电子装备的接心,局部切换到USB-C,即今朝智妙手机中的闪电接心也有能够被完全抛却。

实践上,苹果申请USB-C到磁性充电心的转接器专利,自己也表白了对USB-C接心的承认。正在汗青上,苹果常常利用自有接心,给内部配件开辟、消耗者购置本钱带去倒霉影响,不外今朝的趋向去看,苹果开端接纳消耗电子止业内乱遍及盛行的接心,消耗者也能够更简单购置到接心配件。(综开/晨光)

  • 0
    粉丝
  • 978
    阅读
  • 0
    回复

关注世界总裁网

扫描关注,了解最新资讯

实时了解财经信息
掌握市场风云动态
助力商场共赢至胜
改变你所看到的世界
热门资讯
排行榜

关注我们: 微信订阅&APP下载

发现价值 创造价值

WNCEO.COM

世界总裁网版权所有 未经世界总裁网书面授权禁止复制或建立镜像内容

Email: service@wnceo.com 电话: 010-86398086 / 400-848-6648

地址: 北京市朝阳区广渠路36号首城国际大厦10层 邮编: 100010

Copyright  ©2008-2025 世界总裁网All rights reserved. 工信部许可备案号:京ICP备12045339号-2