价值无所不在,世界财经资讯媒体平台。
手机版
访问手机版
世界总裁网 首页 头条资讯 科技世界 新闻内容

苹果汽车专利出炉 用蓝牙传感器大幅降低车祸率

发布时间: 2017-8-18 05:52| 发布者: 想飞的小鸟| 查看: 1187| 评论: 0

摘要: 世界总裁网讯 据外媒报道,正式开启自动驾驶征程的苹果终于拿到了第一份相关专利,它们要用蓝牙传感器帮车辆相互交流。这款传感器用到的技术与蓝牙短程无线技术类似,它会扫描车辆周边并与其他车辆、传感器和GPS系统 ...

天下总裁网讯 据中媒报导,正式开启主动驾驶征程的苹果终究拿到了第一份相干专利,它们要用蓝牙传感器帮车辆互相交换。

那款传感器用到的手艺取蓝牙短程无线手艺相似,它会扫描车辆周边并取其他车辆、传感器战GPS体系互相联络,随后将路上奔驰而过的车辆或救护车投射正在中控屏上提示驾驶员。

正在专利阐明中,苹果并已暗示它将用正在主动驾驶汽车上。相反,苹果为那套体系找的敌手是现有车辆上拆载的倒车雷达战盲区探测体系。

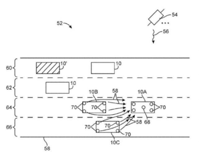
苹果新专利

固然,苹果申请的专利多了,但其实不代表就可以酿成理想产物,并且V2V通信手艺也其实不新颖,2002年便有相干的通信协会建立,而取苹果正在法庭上鏖战正酣的下通也有多项相似的处理计划,且包括了蓝牙、Wi-Fi战3G/4G LTE。

话虽云云,但苹果能拿到如许的专利仍是有极粗心义的。

苹果正正在鼎力开展主动驾驶体系,同时它们取汽车厂商协作的CarPlay也正在不竭加强。除此以外,车辆的收集毗连也是苹果的出力面之一,而用正在AirPods等耳机中的W1芯片将来会用正在更多装备上。

假如将来苹果主动驾驶体系完成后又念本人制车,那末这类V2V体系便会变的不成获得,究竟结果根据好国国度下速公路交通宁静办理局的道法,此类体系能削减80%的变乱率(非酒驾状况下)。(编译/钝志)

  • 0
    粉丝
  • 1187
    阅读
  • 0
    回复

关注世界总裁网

扫描关注,了解最新资讯

实时了解财经信息
掌握市场风云动态
助力商场共赢至胜
改变你所看到的世界
热门资讯
排行榜

关注我们: 微信订阅&APP下载

发现价值 创造价值

WNCEO.COM

世界总裁网版权所有 未经世界总裁网书面授权禁止复制或建立镜像内容

Email: service@wnceo.com 电话: 010-86398086 / 400-848-6648

地址: 北京市朝阳区广渠路36号首城国际大厦10层 邮编: 100010

Copyright  ©2008-2026 世界总裁网All rights reserved. 工信部许可备案号:京ICP备12045339号-2